COMPANY HEADER
Request Information
Various molded boss heights

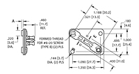
Socket is installed onto chassis using eyelets or screws. Transistor is installed afterwards. Assembly and repairs are simplified since socket will stay in place without transistor mounted. Top molded boss or added bushing ensure the transistor leads will be isolated from the chassis. Various boss heights available to accommodate standard chassis thicknesses. Use Cat. No. 4606 and nylon bushings for special chassis thicknesses.
Unit of Measure

Specifications

Dimension A

N/A 0.125 in3.2 mm

Material Standards

N/A ASTM-D4066

Certification

N/A ISO 9001 RoHS Compliant

Material

Base Material

N/A Grade PBE Phenolic Type XP

Contact Material

N/A Brass

Contact Finish

N/A Tin Plate

Collector Plate Material

N/A Steel

Collector Plate Finish

N/A Tin Plate